


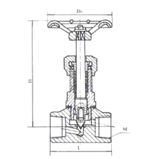
专业的YZF7-4 J11内螺纹截止阀生产企业,所营YZF7-4 J11内螺纹截止阀产品深受广大客户好评,扬中市守信化工仪表厂竭诚期待与您好洽谈合作.欢迎您的订购!
本企业主要产品有:高、中压仪表阀门、三阀组、五阀组、各式卡套式管接头。防爆、隔爆挠性管、穿线盒接线箱,电缆密封接头、高温高压阀、蝶阀、仪表保温(护)箱等十几大系列产品。本企业拥有雄厚技术力量,设计工艺先进,设备精良,检测严格,质量可靠,品种齐全。产品在同行业中占地位。如有特殊规格产品可来电来人洽谈,本企业有专业人员为贵单位设计。
本企业按质量管理体系实施有效运行,多次被国家重点工程及外商工程项目所选用。深受用户一致好评。竭诚欢迎海内外朋友莅临合作。
上一个 : YZJ-2A J21W外螺纹截止阀 下一个 : DSF8-3 S19-1热动力式疏水器